YC科技资讯网

在绘制电路时,有时候换个思路和角度,也挺有意思。下面给各位老铁分享一个电路。

在绘制电路时,有时候换个思路和角度,也挺有意思。下面给各位老铁分享一个电路。

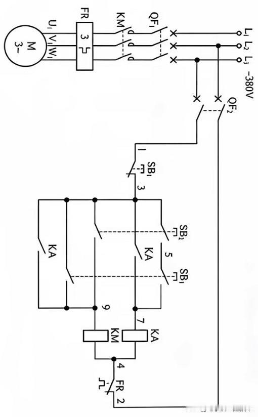
当按SB1停止,单按SB2或者SB3都是KM点动,同时按SB2和SB3,中间继电器KA自锁,接触器KM持续吸合。

绘制这个电路的瑕疵是标注不严谨,图中有两个按钮SB1标注有问题,其中SB1应该停止,SB2和SB3是启动按钮,只有同时按下SB2、SB3后电机才能自锁连续运转。

这个电路的实用场景是:单摁按钮点动对刀,必须双手退出机器工作面左右一起摁才自锁,是一个防压手设计的电路。

各位老铁有没有需要改进的地方,欢迎在评论区留言、评论。
电路接线技巧 电气原理图识图 电路接线知识