YC科技资讯网
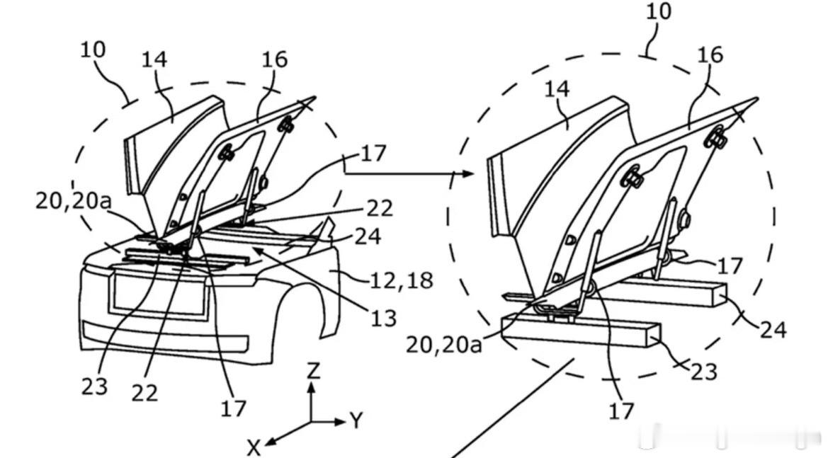
劳斯莱斯纯电库里南新的谍照这前机盖原来是侧开的别说,还挺新的有点像个冰柜
2026-04-10 13:38:00
寻桃看汽车
汽车
劳斯莱斯纯电库里南新的谍照这前机盖原来是侧开的别说,还挺新的有点像个冰柜
猜你喜欢
陈光标,1300万劳斯莱斯没用在刀刃上,张雪即将要拍卖自己冠军车型的复刻版摩托车
2026-04-04
昌宇娱乐菌
标签:
摩托车
劳斯莱斯
这家人干了我要干的事情~熟悉我的朋友知道我存了一台三菱帕杰罗V97,基本不开但绝
2026-04-09
催催小管家
标签:
三菱帕杰罗
帕杰罗v97
日系车
都开法拉利了,还用在意自己长啥样?
2026-03-30
情话俏皮
标签:
法拉利
我老婆曾经在加油站干过一年加油员,她总结的经验是,那些开油耗高的豪车的人,比如开
2026-04-09
访卉趣事
标签:
丰田普拉多
普拉多
长城汽车老板魏建军要送给鱼贩摊主张万峰一辆新车,他竟然不要,我头一次见这种“不开
2026-04-09
访卉趣事
标签:
魏建军
长城汽车
皮卡
国产车
热门分类
推荐
热榜
军事
NBA
体育
社会
明星八卦
娱乐
财经
科技
汽车
历史
国际
游戏
动漫
公益
搞笑
商业
互联网
数码
国际足球
房产
家居
时尚
科学探索
职场
育儿
股票
教育
影视
情感
热点
中国军情
武器
中国南海
中国足球
亚洲杯
科比
综合体育
CBA
投资
楼市
大咖秀
外汇
创业
风口
SUV
豪车
概念车
优惠
新能源
美国
欧洲
朝日韩
俄罗斯
孕期
街拍
恋爱攻略
婚姻
正能量